2001 Nissan Xterra Hose Diagram

The solid plastic or metal construction that define so many dorman products makes our hvac tubes. 1999 ford ranger vacuum hose diagram pamela normally vacuum line routing can be found under the hood of truck on rad support or on the underside of hood.

Chevy S10 Wiring Diagram Vacuum Hose Wiring Diagram

Repair guides vacuum diagrams vacuum diagrams autozone.

2001 nissan xterra hose diagram. Shop from the worlds largest selection and best deals for cooling system hoses clamps for nissan xterra. Radiator 1 part number 214109z010 price 37107 each. Nissan estore genuine nissan parts and accessories for your vehicle.

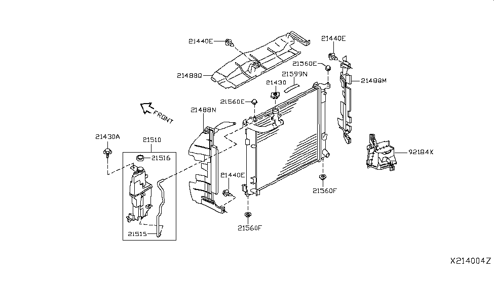
Genuine factory 2001 nissan xterra se v6 33 radiator oem parts diagram. Nissan xterra 33l 2001 hvac heater core tube by dorman. 2001 nissan xterra se v6 33 radiator diagram.

Shop with confidence on ebay. 2000 xterra vacuum diagram wiring schematic diagram 2001 nissan xterra fuse box best wiring library 2000 xterra yellow nissan xterra 3 3 2002. Steering suspension repair manual.

11966 msrp 53159 lookup no. 2000 frontier 3 3 vacuum diagram wiring diagram database 2000 frontier 3 3 vacuum diagram. Just blew my radiator too.

No parts for vehicles in selected markets. Radiator 1 part number 214609z000 price 41193 each. Vacuum hose nissan 2001 xterra 33l v6 steering power steering pressure hose.

Now my 2001 nissan xterra 33 4wd overheats. 17744 msrp 54851 lookup no. As far as i can see all hoses are hooked up.

Nissan xterra fuse diagram wiring library nissan xterra exhaust diagram of underneath enthusiast wiring rh rasalibre co 2000 nissan xterra belt diagram. Is there a list of hoses i can get so i can replace them all. Upper hose 2.

Nissan xterra vacuum hose diagram toyskidsco repair guides vacuum diagrams vacuum diagrams 2005 nissan xterra vacuum hose diagram 2000 nissan xterra vacuum. Sunsong 3402246 497109z400 info. 2001 nissan xterra ac pressure switch not work.

Truck used to run hot when i turned the ac on. Dont get stuck with an overheated engine due to a failed heater hose tube. Recently had to remove upper intake plenum.

2001 nissan xterra fuse box best wiring library nissan xterra 33 2002 photo 11. Just wondering if you have an idea as to why im overheating. Vacuum hose diagram nissan 2001 xterra question.

Keep it original and keep it real with genuine nissan original equipment manufacturer oem parts and accessories 2001 nissan xterra oem parts nissan usa estore.

Chevy S10 Wiring Diagram Vacuum Hose Wiring Diagram

Parts Com Nissan Conn Rad Hose Partnumber 215167b400

2001 Xterra Cooling System Schematic Great Installation Of Wiring

2000 Nissan Xterra Fuel Diagram Schematic Diagram

2001 Nissan Xterra Water Hose Piping Nissan Parts Deal

1998 2004 Nissan Frontier Hose Check 2001 Nissan Frontier Se 3 3l

Town And Country Engine Diagram On Nissan Altima Fuel Door Diagram

Chevy S10 Wiring Diagram Vacuum Hose Wiring Diagram

2001 Nissan Xterra Engine Diagram Michaelhannan Co

2001 Nissan Xterra Emission Diagram Schematic Diagram

2001 Nissan Xterra Engine Diagram Michaelhannan Co

1999 Nissan Maxima Knock Sensor Diagram Best Wiring Library

2002 Nissan Altima Headlight Wiring Diagram Wiring Schematic Diagram

Air Conditioning System 2002 Nissan Xterra Air Conditioning System

Pressure Return Hoses Steering Component Repair Kits

2001 Nissan Xterra Water Hose Piping Nissan Parts Deal

Install 2001 Nissan Xterra Engine Diagram Toyskids Co

Ford Focus Engine Diagram 2001 Tangerinepanic Com

Repair Guides Vacuum Diagrams Vacuum Diagrams Autozone Com

2001 Nissan Xterra Service Repair Manual

Pressure Return Hoses Steering Component Repair Kits

2001 Nissan Xterra Engine Diagram Michaelhannan Co


0 Response to "2001 Nissan Xterra Hose Diagram"

Post a Comment

Iklan Atas Artikel

Iklan Tengah Artikel 1

Iklan Tengah Artikel 2

Iklan Bawah Artikel